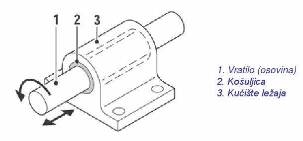
Rukavci osovina i vratila
Rukavac je deo osovine koji служи za oslanjanje u ležaju i omogućava stabilan i tačan rad vratila bez prevelikog trenja, habanja i deformacija.
da preuzme reakciju oslonca (radijalnu silu) sa ležaja,
da omogući centrično vođenje osovine ili vratila,
da obezbedi glatko i pouzdano okretanje,
da omogući pravilnu montažu ležaja uz odgovarajuće tolerancije i naleganja.
Kontakt između osovine i ležaja je po površini cilindra.
Mora imati visok kvalitet obrade (polirana površina).
Često koristi uljne žlebove, bushing (čaure), podmazivanje.
Brzina nije kritična u školskoj teoriji, ali bitno je podmazivanje jer smanjuje dozvoljeni pritisak i habanje.
Ne radi se proračun kontakta osovina/ležaj kao kod kliznih, jer element kotrljanja (kuglica/valjak) nosi opterećenje tačkasto ili linijski.
Prečnik rukavca se usvaja prema standardnom unutrašnjem prečniku ležaja.
Važno je ISO naleganje (npr. h6, k6, m6...) da ležaj ne kliza ili da nije premontiran.
Radijalni (noseći) rukavac → preuzima poprečnu silu iz oslonca (najčešći),
Aksijalni (čeoni) rukavac → preuzima aksijalne sile (nije tvoj slučaj),
Konusni ili stepenasti rukavac → za posebne montažne uslove.
U praksi konstruktora:
bira se prema dimenziji standardnog ležaja (ako je kotrljajni),
ili se izračuna kontaktni pritisak i PV vrednost (ako je klizni),
a zatim se kritični presek proverava mehanički.
Kriterijum |
Šta obezbeđuje |
Primena |
|---|---|---|
Površinski pritisak p ≤ p₍doz₎ |
da rukavac ne ošteti i ne sabija ležaj |
Glavni kriterijum za klizne |
PV ≤ PV₍doz₎ |
da ne dođe do ubrzanog habanja |
Dodatno, samo za klizne |
Smicanje τ ≤ τ₍doz₎ |
da se rukavac ne preseče na izlazu iz oslonca |
Obavezna mehanička provera |
Zaobljenja, tolerancije, hrapavost |
smanjenje koncentracije napona i dobra montaža |
Uvek konstrukciono |
Orijentacione vrednosti iz literature mašinskih elemenata za klizne čaure:
Čelik rukavca na bronzi ili mesingu: p₍doz₎ = 3 – 8 MPa
Uz dobro podмазивање (školski zadaci): p₍doz₎ ≈ 5 MPa
Uz loše uslove: 2 – 4 MPa
Kotrljajni ležaj: ne koristi se direktna tablica p, već standard ležaja definiše dimenziju.
(Oво su tipični teorijski podaci iz ME literature, univerzitetskih skripti i priručnika o kliznim ležajevima i rukavcima.)
Najčešće: konstrukcioni čelici (C45/C0545, C60…),
Površina rukavca treba da bude: brušena ili polirana, Ra ≈ 0.4 – 1.6 µm,
Tolerancija prečnika: po katalogu ležaja,
Zaobljenja prelaza: obavezно da nema oštrih stepenica.
Nacrtamo osovinu kao gredu i izračunamo reakciju u osloncu.
Na osnovu reakcije znamo Fₛ koja deluje na rukavac.
Rukavac gledamo kao cilindar u osloncu:
po površini proverimo da li je pritisak mali, da ležaj izdrži,
na kraju kontakta proverimo da li je smicanje u granici, da se ne preseče.
Rukavac obezbeđuje oslonac osovine, dimenzija mu zavisi od ležaja, a proveravamo ga da li:
ne sabija ležaj (površinski pritisak),
ne može da se preseče na kraju oslonca (smicanje),
i kod kliznih da ne habа prebrzo (PV).